找回密码
 立即注册
搜索

0

0

收藏

分享

热搜爆了!37岁男演员被传坠楼,关联公司均已注销,北京警方回应

九派娱乐 · 2025-9-17 14:53:07
据中国蓝新闻,
9月11日,
演员于朦胧冲上热搜。
有网友称于朦胧今日在北京坠楼,
目前于朦胧方无回应。
1.png
于朦胧主页显示,其上次更新动态是8日前,昨天21:31还上线了微博。目前,于朦胧方暂无回应。
2.png
据三湘都市报,记者联系了北京市朝阳区常营派出所,派出所民警称没有收到相关消息。
3.png
于朦胧,1988年6月15日出生于新疆维吾尔自治区乌鲁木齐市,结业于北京演艺专修学院,中国内地男演员、歌手、MV导演。
4.png
2007年,参加东方卫视选秀娱乐节目《我型我秀》,获得西安站16强。2010年,参加选秀节目《快乐男声》被选入“快乐天团”候选人;同年,担任丁爽歌曲《61秒》的MV导演。2013年,参加湖南卫视选秀娱乐节目《快乐男声》,获得全国总决赛第十名。2015年,主演的古装穿越剧《太子妃升职记》播出,获得大量关注。代表作品有《三生三世十里桃花》《太子妃升职记》《永夜星河》《一伞烟雨》等。
5.png
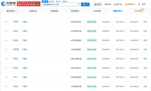
天眼查任职信息显示,于朦胧名下关联2家工作室,分别为上海起萌影视文化工作室、东阳鲜萌影视文化工作室,均为注销状态。其中,上海起萌影视文化工作室成立于2017年8月,于2024年11月注销,出资额500万人民币,为于朦胧个人独资企业。知识产权信息显示,该工作室已成功注册多枚“于朦胧”商标。此外,东阳鲜萌影视文化工作室成立于2016年9月,于2025年7月注销,出资额0.05万人民币,为于朦胧个人独资企业。
6.jpeg
7.jpeg
【来源:上观新闻】
声明:此文版权归原作者所有,若有来源错误或者侵犯您的合法权益,您可通过邮箱与我们取得联系,我们将及时进行处理。邮箱地址:jpbl@jp.jiupainews.com

内容来源于51吃瓜网友投稿

使用道具 举报

您需要登录后才可以回帖 立即登录